
“久等了,京剧猫大电影《京剧猫:霸王折》官方预告片第二弹!白糖,信念依旧!你不是一只猫在战斗!”
动画电影《京剧猫:霸王折》的预告中出现了很多大家熟悉的角色,白糖、武松、大飞、小青等都有出现了,





只不过预告中基本上没有什么角色说话了,很长一段都是背景音乐在营造氛围了,

结尾的话则是出现了一段对话“妈妈”“我的孩子”,似乎有种“刀”人的感觉了。
这支预告的质量相比于动画电影《京剧猫:霸王折》的首支预告质量还是差一些的了,




动画电影《京剧猫:霸王折》的首支预告在2018年公开了,
首支预告中不仅有人物的对话,还有一些戏剧的演绎画面了,呈现的效果还是比第二支预告好很多了。
不过让大家惊喜的是动画电影《京剧猫:霸王折》终于有了新预告,但是这也让大家还是不敢相信能否上映了,





毕竟动画电影《京剧猫:霸王折》也溜了网友7年之久了,不到正式上映,大家还是保持观望了。
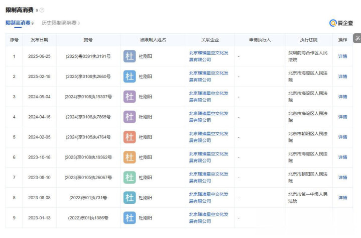
动画电影《京剧猫:霸王折》的制作方北京璀璨星空文化发展有限公司在2025年又新增了两个限制高消费,并且很多都是未履行的状态,此前还有很多执行的案件费用也是非常之高了,



所以动画电影《京剧猫:霸王折》的能否上映还是个未知数了,制作还是需要经费了,

不过《京剧猫》的联动在这几年还是很多了,像各类周边也是层出不穷,不知道是不是填补“窟窿”的一个方法了。
